《中小型建筑机械操作工》 | 任务7 其他小型建筑机械的使用 4.凿岩机
1)凿岩机的性能及分类
凿岩机是石方工程中钻凿炮孔的凿岩工具。按动力可分为风动、风燃、电动和液压4种,按操作形式可分为手持式、气腿式、向上式和导轨式4种。下面介绍风动凿岩机。
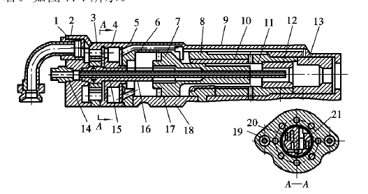
风动凿岩机是以压缩空气推动活塞运动的凿岩工具,它具有结构简单、重量轻、坚固耐用、使用维修方便、适应性强等优点,但需配备大型或中型的空压机及其管路,投资费用高,能量利用率仅10%,噪声和振动大。目前这种凿岩机广泛用于野外的固定场地和移动场地的凿岩作业,它的工作压力为0.63MPa,凿孔直径为42mm,深度5m左右,自重24千克左右。如图7.4所示。

图7.4 YT23型凿岩机构造
1—柄体;2—风管弯头;3—内棘轮;4—阀体;5—阀;6—阀盖;7—活塞;8—导向套;9—机头;10—花键母;11—转动套;12—钎套;13—掐套;14—水管接头;15—水针;16—螺旋棒;17—螺旋母;18—气缸;19—柱塞;20—弹簧;21—回转爪
2)使用时的注意事项
①风动凿岩机的使用条件:风压宜为0.5~0.6MPa,风压不得小于0.4MPa,水压应符合要求,压缩空气应干燥,水应用洁净的软水。
②使用前,应检查风、水管,不得有漏水、漏气现象,并应采用压缩空气吹出风管内的水分和杂物。
③使用前,应向自动注油器注入润滑油,不得无油作业。
④将钎尾插入凿岩机机头,用手应能够顺时针转动钎子,如有卡塞现象,应排除后再开钻。
⑤开钻前,应检查作业面,周围石质应无松动,场地应清理干净,不得遗留瞎炮。
⑥在深坑、沟槽、井巷、隧道、洞室施工时,应根据地质和施工要求,采取设置边坡、顶撑或固壁支护等安全措施,并应随时检查及严防冒顶塌方。
⑦严禁在废炮眼上钻孔和骑马式操作。钻孔时,钻杆与钻孔中心线应保持一致。
⑧风、水管不得缠绕、打结,并不得受各种车辆辗压。不应用弯折风管的方法停止供气。
⑨开钻时,应先开风、后开水。停钻后,应先关水、后关风。并应保持水压低于风压,不得让水倒流入凿岩机气缸内。
⑩开孔时,应慢速运转,不得用手、脚去挡钎头。应待孔深达10~15mm后再逐渐转入全速运转。退钎时,应慢速徐徐拔出,若岩粉较多,应强力吹孔。
⑪运转中,当遇卡钎或转速减慢时,应立即减少轴向推力。当钎杆仍不转时,应立即停机排除故障。
⑫使用手持式凿岩机垂直向下作业时,体重不得全部压在凿岩机上,应防止钎杆断裂伤人。凿岩机向上方作业时,应保持作业方向不偏移并防止钎杆突然折断,凿岩机亦不得长时间全速空转。
⑬当钻孔深度为2m以上时,应先采用短钎杆钻孔,待钻到1.0~1.3m深度后,再换用长钎杆钻孔。
⑭在离地3m以上或边坡上作业时,必须系好安全带。不得在山坡上拖拉风管,当需要拖拉时,应先通知坡下的作业人员撤离。
⑮在巷道或洞室等通风条件差的作业面,必须采用湿式作业。在缺乏水源或不适合湿式作业的地方作业时,应采取防尘措施。
⑯在装完炸药的炮眼5m以内,严禁钻孔。瑏瑧夜间或洞室内作业时,应有足够的照明。洞室施工应有良好的通风措施。
⑰作业后,应关闭水管阀门,卸掉水管,进行空运转,吹净机内残存水滴,再关闭风管阀门。